Thermometrics NTC SA 型为可互换热敏电阻,配备裸露引线。

特性
-
低成本固态传感器
-
在 0°C 至 120°C 范围内具有标准 ±1°C 精度
-
对温度变化灵敏度高
-
适用于温度测量、控制与补偿
-
机械强度优良
-
工作温度范围宽:-50°C 至 150°C
-
-
适用于PCB及探头安装
-
提供多种阻值选择
-
也可提供环氧涂层版本,以及符合 EIA RS-468A 标准的卷带包装,适用于自动插装
-
Beta 值 (25°C - 85°C) = 4073K
-
材料系统:D10.3
-
应用
-
适用于温度测量、控制与补偿。
可选配置
| 选项 | 说明 |
|---|---|
| 涂层 | 流化床环氧涂层,例如型号后缀 "SC" |
| 卷带包装 | 例如型号后缀 "SR" |
| 涂层并卷带包装 | 例如型号后缀 "SCR" |
| 其他电阻值 | 阻值范围 1 kΩ 至 10 kΩ |
| 其他公差 | 其他温度下的公差选项 |
| 引线定制 | 替代引线长度、引线材料、绝缘处理 |
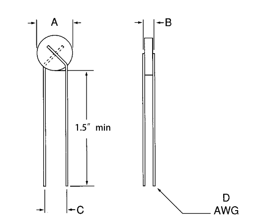
产品型号参数表
| 型号 | R₀ @ 25°C (Ω) | A (in.) | A (mm) | B (in.) | B (mm) | C (in.) | C (mm) | 线规 (AWG) | 耗散常数 (mW/°C) | 时间常数 (sec.) |
|---|---|---|---|---|---|---|---|---|---|---|
| RL3005-574-0-103-SA | 1000 | 0.32 | 8.13 | 0.14 | 3.56 | 0.25 | 6.35 | 24 | 3.5 | 30 |
| RL2005-1148-103-SA | 2000 | 0.22 | 5.59 | 0.14 | 3.56 | 0.15 | 3.81 | 24 | 2.5 | 20 |
| RL2006-1600-103-SA | 2786 | 0.22 | 5.59 | 0.15 | 3.81 | 0.15 | 3.81 | 24 | 2.5 | 20 |
| RL2007-1723-103-SA | 3000 | 0.22 | 5.59 | 0.16 | 4.06 | 0.15 | 3.81 | 24 | 2.5 | 20 |
| RL2008-2010-103-SA | 3500 | 0.22 | 5.59 | 0.17 | 4.32 | 0.15 | 3.81 | 24 | 2.5 | 20 |
| RL1003-2871-103-SA | 5000 | 0.11 | 2.79 | 0.11 | 2.79 | 0.10 | 2.54 | 26 | 1.0 | 10 |
| RL1004-4019-103-SA | 7000 | 0.11 | 2.79 | 0.12 | 3.05 | 0.10 | 2.54 | 26 | 1.0 | 10 |
| RL1005-5744-103-SA | 10000 | 0.11 | 2.79 | 0.13 | 3.30 | 0.10 | 2.54 | 26 | 1.0 | 10 |
注:尺寸参数中,A、B、C 为关键尺寸,具体对应关系请参考产品图纸。
-
[产品说明书]
-
[点击下载NTC R-T表参数评估生成工具软件] :一般车用温度传感器多为主机厂或者配套供应商指定参数
Thermometrics NTC热敏电阻 |径向引线SA型 | 精度+/-1℃可互换
-
汽车应用发动机管理;暖通空调;EV / HEV电池 ;车外温度;车内温度;发动机水温
-
重型设备应用发动机管理;暖通空调;车外温度;车内温度
-
铁路应用发动机管理;座舱控制
-
楼宇自动化应用管道测量;房间监控;水管理;冷却机组控制;锅炉控制;流量和能量计量;室外空气
-
家电控制家电控制;温度
-
制冷应用商业;家用
-
电子产品应用消费;电信
-
HVAC暖通风室外空气监测;主机状态监测;通风管道监测;室内空气监测;冷水机组监控;外部温度
-
信号检测温度
-
工业应用测温;通用型

